
今天分享的是一个表情侵权的案例,而且是十分常见的笑脸表情!

Smiley是一家品牌授权公司,总部设在伦敦,英国。它在 100 多个国家拥有笑脸的权利。该公司被认为是全球最有影响力的授权公司之一,并为授权生产的产品包括纺织品、拼图、派对用品、文具、汽车配件和玩具。品牌合作伙伴和零售商。
Smiley发展历程:
Smiley的笑脸首先肯定是存在一个版权的问题,提到版权脑海中就要闪现一个过期的问题。Smiley笑脸最早在1971年发表,但还远不到过期的时间,个人版权通常为作者死后50年,公司版权为作品发表50年。即使作者刚发表就死了,那也只是最早发表的笑脸图案过期,而我们现在看到的笑脸图案实际是后来经过多版改良的,所以它的版权目前肯定还是受保护的状态。
其次是商标问题,Smiley笑脸在全球的主要国家基本都有注册图形商标:

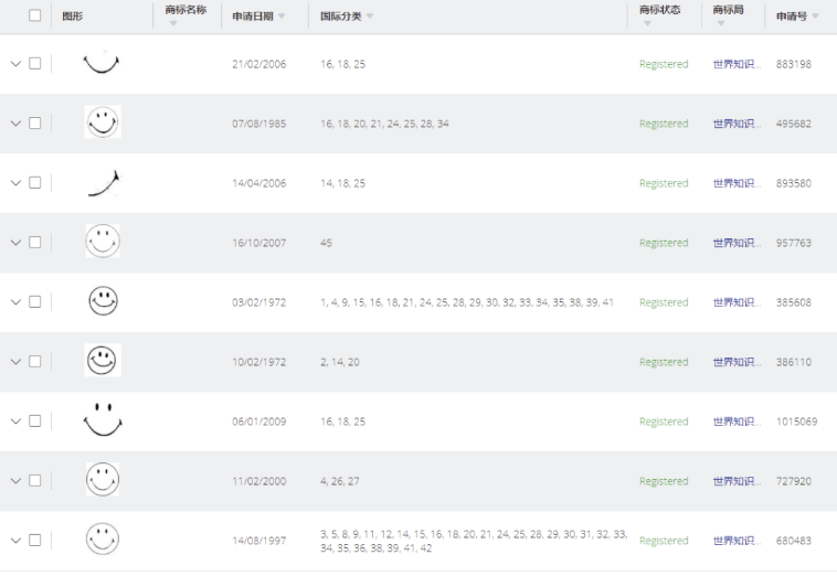
以下为Smiley的部分商标注册情况,注册类目十分广泛:

如果你以为Smiley只有笑脸图案侵权,那就大错特错了。
以下是Smiley在1997年创建的部分新图标,并且目前一直在使用:

苹果App Store中也有Smiley的作品:

登录官网https://smiley.com/,查看更多Smiley的图案。
涉及Smiley版权和商标的产品几乎可以涵盖所有类目,任何产品都可能会添加一个笑脸图案,从而导致侵权。就好比emoji,律所没行动之前很多人都卖的风生水起,被起诉冻结后就一夜回到解放前。目前我们能知道的律所动态都是实际已经发案了的,这样才有信息披露出来,不存在事先知道哪个品牌要开始维权的情况,这就体现了事前预防的作用,谁能保证Smiley不会是下一个律所代理的品牌呢?

发表评论