
案件参数:
起诉时间:2022/9/11
案件号:22-cv-61705
原告品牌:智能背光时钟 CLOCK WITH INTELLIGENT BACKLIGHT DEVICE
品牌方:Centre Way Company Limited
律所:The Law Offices of Jared W. Gasman, P.A.
起诉地:美国佛罗里达州
品牌介绍:
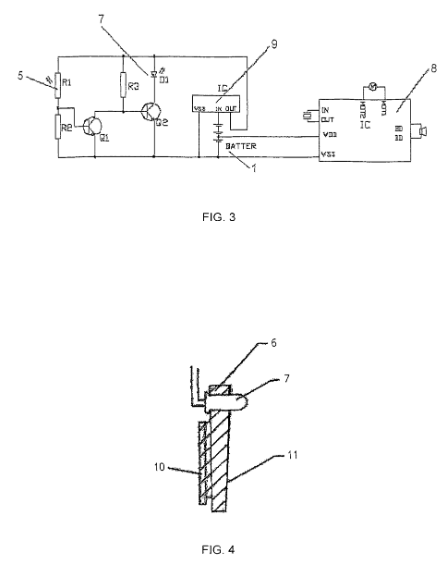
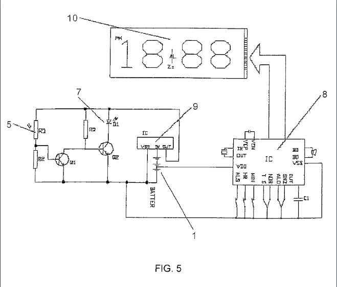
原告是一家在中国香港注册的实体,是这款带有智能背光设备时钟的专利所有者。
专利:
https://patents.google.com/patent/US7477229B2/en





发表评论